Convertible

Convertibles sind Hybriden aus einem Tablet und einem Notebook. Das Display ist Touch-fähig. Die Tastatur kann unter dem Display "versteckt" oder sogar ganz abgekommen werden. Die Tastatur besitzt zusärtliche Anschlüsse und sehr oft auch einen weiteren Akku. Ist die Tastatur abnehmbar, sind das Tablet und die Tastatur mit einem Docking-Anschluss ausgestattet. Sie werden nicht via Bluetooth miteinander verbunden.

News

Hands-On: HP Spectre x360 – schick, flexibel und energieeffizient

HP hat auf dem Mobile World Congress in Barcelona ein Convertible vorgestellt, das Lenovos Yoga enorm ähnelt. Das... weiter

News

Acer Aspire R13 Convertible: Neue Hardware für Acers Windows-8-Hybrid

Acer hat sein Windows-8-Convertible Aspire R13 auf den neuesten Stand der Technik gebracht. Neben dem WLAN-Standard... weiter

News

Asus Transformer Book T300 Chi: Eine Variante ist top, die andere mittelmaß

Der taiwanesische Computer-Hersteller Asus hat die derzeit stattfindende Consumer Electronics Show in Las Vegas... weiter

News

Asus Transformer Book T90 Chi: ultra-kompaktes Convertible

Auf der weltweit größten Elektronikmesse, der CES in Las Vegas, werden am laufenden Band neue Gadgets, Programme und... weiter

News

Microsoft tauscht MacBook Air gegen Surface Pro 3 - lohnt nur in Einzelfällen

Das Surface Pro 3 scheint sich nicht viel besser zu verkaufen als seine Vorgänger. Microsoft glaubt, dass die Kunden... weiter

Test

Dell Venue 11i Pro im Test: Solides Convertible für Profis

Tablets sind gut und schön, wer jedoch Texte schreiben muss, benötigt eine echte physische Tastatur. Dell hat mit... weiter

News

Video: Dell Inspiron 11 3000 – schickes aber leider schweres Convertible

Dell hat jahrelang Convertibles mit recht eigenwilligem Display-Dreh-System hergestellt. Nun kopiert das Unternehmen... weiter

News

Video: Asus Transformer Book V – Smartphone, Tablet und Notebook in Einem

Drei Geräte und fünf Nutzungsmodi. Asus versucht mit seinem neuen Transformer Book V Smartphone, Notebook und Tablet... weiter

News

Microsoft: Zu feige für ein Surface Mini

Das war wohl nichts mit dem Surface Mini. Stattdessen haben wir von Microsoft mit dem Surface Pro 3 ein neues... weiter

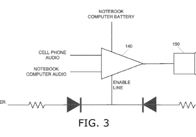
News

Google-Patent: Laptop mit Smartphone-Halterung - alter Ansatz neu aufgezogen

Mobil- und Desktop-Systeme miteinander zu kombinieren gewinnt immer mehr an Bedeutung. Daher hat Google ein Patent... weiter